中国粉体网讯 云母纸是以碎云母或云母粉为原料,经纸浆、抄造、成型、压榨等工艺制成的可代替天然片云母作为工业电气绝缘材料的云母制品。
云母纸的制备工艺包括云母纸浆的制备(简称制浆)和抄造。其中关键在于云母纸浆的制备。
一、云母纸浆的制备
目前制备云母纸浆的方法有煅烧化学制浆法、水力制浆法、胶辊粉碎法和超声波粉碎法,以前两种方法应用较多。
(1)煅烧化学制浆法
将经过分选的碎云母,经高温煅烧脱除云母结构中的部分结晶水,使云母片沿着垂直于解理面的方向产生膨胀,质地变软,再经化学方法处理,使云母片充分地分裂解离,再经洗涤分级成浆。用这种方法制浆、抄造的云母纸叫做粉云母纸。
a.云母原料的分选和干燥
天然云母纸所用的原料主要是天然碎云母和片云母加工的边角料。分选的目的主要是除去不适于制造云母纸的黏结片、黑云母、绿云母以及与云母伴生在一起的其他杂质和外来杂质。为保证云母的煅烧质量,还必须除去厚度大于1.2mm的厚云母片。分选后的云母在圆筒筛或振动筛中加水清洗,以除去云母料中的泥沙等杂质并筛去尺寸太小的细料,使云母料净化。净化后的云母含有20%~25%的水分,必须除去,使附着水含量降到2%以下。干燥在特制的带式烘干机上进行,以蒸汽为热源。
b.云母的煅烧
将云母装入一特定的电炉中,加热至700~800℃,并保持50~80min,以除去云母晶体中的结晶水,得到优质的制浆用云母料。云母的煅烧,目前大多采用间接加热式回转窑。经过煅烧后的云母熟料,需进行筛选,以除去原来夹在云母层间的泥沙、易燃物的灰分和直径小于6mm的云母碎片。云母的煅烧质量将影响云母纸的电气性能、柔软性、耐折度、抗拉强度和云母的成浆率。
c.粉云母浆的制备
对煅烧好的云母(熟料)进行化学处理,使之成为能分散于水中呈均匀悬浮的鳞片状浆料,并经洗涤除去其中的水溶性杂质,以满足造纸工艺的要求。
(2)水力制浆法
水力制浆法的工艺流程是:碎云母的分选(除杂质)——水选——水力制浆——水力旋流分级——脱水浓缩。
水力制浆法是用高压喷射水流在特制的腔体内将云母片剥离成细小鳞片,然后进行选矿,将适用于造纸的云母鳞片分选出来。这种水力制浆法又称为生法。用这种方法制得的云母纸浆抄造而成的天然云母纸称为生云母纸,简称生纸。
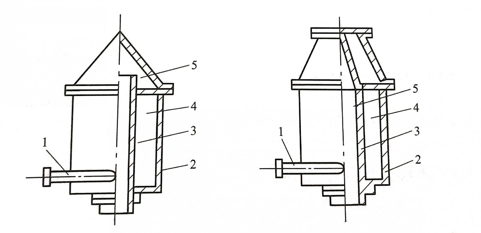
水力制浆系统由循环水池、高压水泵、进料器、浓缩分级筛、水力分级器和水力制浆机等组成。国内采用的水力制浆如下图所示。

水力制浆机示意
1-机壳;2-进料筒;3-喷嘴;4-芯筒;5-盖板;6-进水管;7-芯网
高压喷射水流将云母片沿切线方向带入制浆机的环形空间;在水力的作用下,进行分剥破碎,其云母浆鳞片通过芯筒上的小孔或溢流口排出,而孔眼的大小和数量是根据对云母鳞片的要求和保持流量平衡来确定的。一般孔径为1.1~1.3mm。
云母鳞片的分级通常采用水力旋流器。旋流器锥角10°~20°,直径200~300mm,与之配合的水泵压力一般不超过20kPa。分级合格的云母浆经固定筛脱去大部分水后送至储浆池,筛孔一般为120~200目。
合成云母纸的水力制浆
合成云母纸是一种耐高温(达1000℃)的新型绝缘材料,具有比天然云母纸更优异的性能和更广泛的用途。最常见的是合成氟金云母纸,其纸浆以水力制浆法效果最好。合成云母纸水力制浆机如下图所示。

合成云母纸水力制浆机示意
1-进水料管;2-外芯筒;3-内芯管;4-破碎环形腔;5-浆液排出小孔
二、云母纸的抄造
云母纸的抄造工艺与设备总体上与其他各类纸板的制造工艺与设备大体相同,但由于云母纸的特性,所用造纸机也有其特点。国内云母纸的造纸机主要有圆网造纸机和长网造纸机两类,以圆网造纸机为多。圆网造纸机又分为单圆网和双圆网两种,其结构分别如下图所示。

单圆网造纸机示意
1-顺流溢浆式网槽;2-铜网;3-伏辊;4-吸水箱;5-上压榨辊;6-下压榨辊;7-下毛毯;8-烘缸;9-烘缸托辊;10-卷纸辊;11-上毛毯;12-毛毯导辊

双圆网造纸机示意
1-伏辊;2-双网;3-喷浆式网槽;4-吸水箱;5-毛毯导辊;6-上压榨辊;7-下压榨辊;8-下毛毯;9-烘缸;10-烘缸托辊;11-卷纸辊;12-上毛毯

长网造纸机示意
1-流浆箱;2-胸辊;3-案辊;4-吸水箱;5-下伏辊;6-上伏辊;7-上毯;8-导网辊;9-铜网;10-上压榨辊;11-下压榨辊;12-下挤水辊;13-上挤水辊;14-毛毯导辊;15-下毛毯;16-烘缸;17-烘缸托辊;18-卷纸辊
云母纸的生产工艺过程为:储浆池——网部抄造和成型——压榨部脱水——干燥部烘干——卷纸成筒。
云母纸的生产工艺过程
云母纸的生产工艺过程为:储浆池——网部抄造和成型——压榨部脱水——干燥部烘干——卷纸成筒。
a.网部抄造和成型
储浆池中的云母浆料,用符合质量要求的水稀释成浓度2%~3%的浆液,由提浆泵送入造纸机的网部。根据所抄造的不同厚度云母纸的要求,进一步稀释到合适的浓度(一般在0.3%~0.7%之间)
ⅰ圆网造纸机的网部抄造和成型
圆网造纸机的网部由圆网笼和网槽构成。当圆网笼一转入浆液中,就开始了对浆液的过滤作用,即开始了云母纸的抄造成型过程。云母纸胎随着圆网笼在网槽内不停转动而连续成型。成型的纸胎由于毛毯包绕而过的伏辊的压力作用及比表面积远远大于圆笼毛毯的黏附作用,使得湿纸胎被黏附在毛毯上,被毛毯托住,再经过真空吸水箱、压榨部进一步脱水。经测定,云母纸抄造过程中在网部脱去的水分约为95%~98%。
ⅱ长网抄纸机的网部抄造和成型
长网抄纸机的网部由流浆箱、铜网、胸辊、定幅板、案辊、吸水箱、伏辊、导网辊、校正辊及张紧辊等组成。纸胎在网面上形成可以看成是云母鳞片逐渐地沉积在网面上相互重叠的结果。浆料在网案上的脱水,在案辊部分是利用浆料的静压力和案辊转动时的抽吸力进行脱水,大部分水在此脱去。当案辊部分的脱水能力不大时,则在网案的吸水箱内保持一定的真空度,当纸胎经过吸水箱时,即进行强制脱水。
根据抄造云母纸的品种和厚度,常采用60~80目的铜网作筛网。
b.压榨部脱水
云母纸机的压榨部由真空吸水箱、挤水辊、毛毯导辊、张紧辊和压榨辊等组成。湿云母纸在进入压榨前,先经过真空吸水箱脱水,以降低进入压榨时的水分。
云母纸在压榨部由于受到相当大的线压力,不仅脱去水分(经过两段压榨后,约脱去0.7%的水分),同时还减少了叠合纸页的云母鳞片间的空隙,使形成云母纸的云母鳞片紧密叠合,从而提高了纸的电性能和抗拉强度。
抄造云母纸所用的毛毯叫做纸毛毯。它呈环形,其作用是:主动压榨辊通过毛毯带动网部和压榨部的各种辊筒连续运转,并使它们保持合适的速度;利用比表面积远大于圆网的毛毯的作用,将云母湿胎黏附在毛毯上,并送往压榨部脱水,毛毯吸收水分,然后滤出排掉。
c.云母纸的干燥
云母纸在制造过程中的干燥是为了最后除去水分使之成为干度适宜、适用于电机电器的绝缘材料。为了保证云母纸的绝缘性能,成品纸的水分含量应在0.2%~0.5%之间。
云母纸制造机的干燥由上下两只烘缸、烘干托辊、蒸汽管路和传动部分等组成。
云母纸在干燥部的干燥过程中,由于水分的蒸发,有较多的水蒸气产生,如不及时将其排出厂房外,将会凝结成水滴,不仅会降低烘干效率,而且水滴在纸上会造成斑点或破洞。因此须装通风设备,将干燥过程中产生的蒸汽及时排除。
d.云母纸的卷取
云母纸的卷取是造纸过程的最后一道工序。纸的卷取是由卷纸机来完成,它的作用是将造纸机的成纸卷成筒,以便分切复卷。
参考文献:
郑水林, 孙志明.非金属矿物材料之云母基电功能材料